二手房

二手房 出租房 商铺 厂房 写字楼 仓库 土地 楼盘
赣州一开发商破产程序终结!
时间:2021-09-15浏览:975

据人民法院公告网破产公告显示,江西明鑫房地产开发有限公司管理人已按法院裁定认可的《江西明鑫房地产开发有限公司破产财产分配方案》将江西明鑫房地产开发有限公司的财产分配完结,并提交了破产财产分配报告。依照《中华人民共和国企业破产法》第一百二十条之规定,法院于二〇二一年八月十九日裁定终结江西明鑫房地产开发有限公司破产程序。

图片

▲人民法院公告网文件


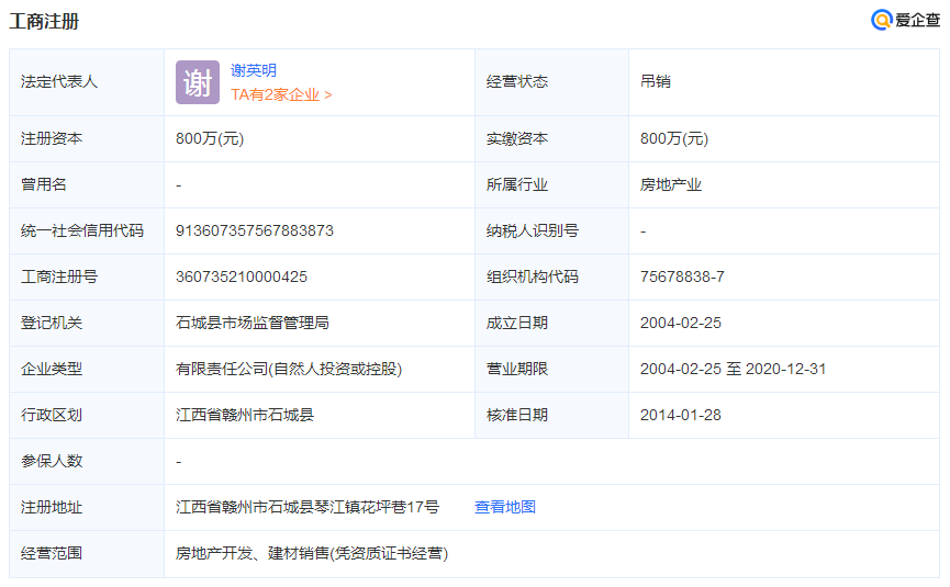
爱企查显示,江西明鑫房地产开发有限公司成立于2004-02-25,法定代表人为谢英明,注册资本为800万元人民币,企业地址位于江西省赣州市石城县琴江镇花坪巷17号,所属行业为房地产业,经营范围包含:房地产开发、建材销售(凭资质证书经营)。

江西明鑫房地产开发有限公司目前的经营状态为吊销,未注销。

图片


2017年开始,该企业被法院列为失信被执行企业,失信行为为“有履行能力而拒不履行生效法律文书确定义务”;

2019年,申请破产重组;

其法人及主要股东被限制高消费。

图片


Copyright 2021 南康房产网-南康房产资讯网-南康生活网房地产频道 客服热线:13576733268

南康房产网f0797.com收集南康本地最新最全的新房楼盘信息、二手房、商铺店面、仓库土地出售出租信息,本地房产中介可在本站发布房源信息,触达南康有购房租房需求用户。是赣州市南康区本地受欢迎的房地产信息网站

ICP证:赣ICP备18001792号-2 公安备案号:赣公网安备 36070302360803号 南康房产网sitemap.xml

手机版

微信公众号

客服微信

发布房源 中介入驻 网站客服 返回顶部